The Virtual Corkscrew Museum's Weekly Newspaper


Sunday, July 22, 2007

Number 469

Click for free subscription

News Index


Packing Extractors

The following is an introduction to packing extractors and is not intended to be all inclusive. There are many variations of the "corkscrew" type packing extractor and dozens of patents covering the subject tools. It is interesting to note the number of references in packing extractor catalogs and patents to "corkscrew" even though the tools are not offered as "cork removers".

Definition: stuffing box n. An enclosure containing packing to prevent leakage around a moving machine part

In a book on steam engines the above drawing is captioned "Stuffing box which forms a steam tight joint for the piston or valve stem. By means of the adjustable sleeve, the proper pressure is brought to bear on the packing to prevent leakage of the steam."

From time to time the packing needs to replaced. Various methods have been proposed and invented to remove the packing. A corkscrew device is an ideal puller in confined areas. These tools are often offered for sale by purveyors of antiques as corkscrews with notations that they are used to remove corks from bottles. Most of them would be difficult to use in removing a stubborn cork. But are they "corkscrews"? - yes, but not in the bottle uncorking sense.

Above is a packing extractor from the Buffum Tool Co., Louisiana, Missouri (marked as such - see below). Frank Buffum started his business in the early 1900s. His factory was located at 4th and Tennessee. Buffum produced a wide variety of tools including ice picks, ice shavers, match holders, lawn sprinklers, picks, wrenches, gate hooks, plumber tools, and a packing extractor. The company was destroyed by fire in the early 1940s.

Buffum tools were often marked with a Swastika and it showed up in advertising as well. The logo was the Good Luck / Blessing / Swastika Cross. Many of his advertisements for tools contained the slogan "Buffum Tool Company, High Grade Tools For High Grade Workmen, Louisiana, Mo."

The two extractors below are marked "The Garlock Packing Co." Garlock roots go back to the 19th Century. On January 28, 1893 the firm applied for a trademark for its Piston-Rod and Other Machinery Packing products. At the time the firm was operated by Frederick Griffith, Olin Garlock (inventor of a packing for steam engines), and Eugene Nichols in Palmyra, New York.



Garlock Packing, Palmyra, New York


Crandall Packing Co. of Palmyra, New York offered a packing extractor tool kit. The company was founded in 1891 and liquidated in 1939.



Here are several packing extractors incorporating a flexible shaft. The one on the top is marked "Mound St. Louis". The one on the bottom is the "Dura-Hook" based on Christopher Wiessner 1937 patent. This patent is discussed in the patents section of this article. The Dura Hook is sold by Flowserve headquartered in Irving, Texas.

Mound Tool Company was founded in St. Louis in 1899. The company currently produces tools for meat packers and processors.



Twisted wire packing extractor


Here's an interesting twist. This is Edwin Walker's U. S. Patent No. 611,046 issued September 10. 1898. The advertising on it is "Bradford United States Metallic Packing Co., Bradford." The company manufactured packing for steam engines. To see a 4 page brochure from the firm, click here (869 KB PDF). An American firm set up the operation in Bradford. The corkscrew is an advertising piece and not meant to be used for removing packing.

Patents

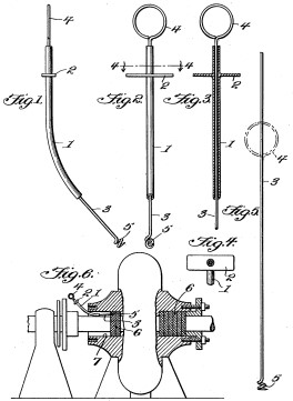
The earliest patent we could find for a packing extractor having some resemblance to a corkscrew is Hiram Smade's U. S. Patent No. 118,823 issued September 12, 1871. The title of his patent is "Improvement in Instruments for Extracting Packing from Stuffing Boxes."

The Manistee, Michigan resident's invention is a reversible tool which has a "worm or screw" on one end and an "ordinary packing hook" on the other. Smade suggests using a "worm, or, preferably, a deep-threaded gimlet-pointed screw."

In their U. S. Patent No. 665,073 dated January 1, 1901, inventors John Doyle and Henry Squibb of Hoboken, New Jersey make several mentions of a "corkscrew" in their "Packing-Extractor". They wrote "Assuming the stuffing box to open upward around a vertical rod, we employ a tool analogous to a corkscrew on one end with fine screw-thread on the other" and "To engage our corkscrew with the packing, the gland is liberated and removed by sliding it backward on the piston-rod."

They further state "H is an important member, which we designate as a corkscrew, but which may well be somewhat stouter than the ordinary device of that name" and "The corkscrew may be removed from the coupling G and a larger or smaller corkscrew applied at will by simply turning it with sufficient force by wrench or gas-pipe pliers in the obvious manner." For their invention they "propose to supply three or any other required number of sizes of the corkscrew."

Their invention was "...to extract from stuffing-boxes any forms of fibrous packing."



Bales Patent 919,808


Bales Patent 931,718

In Haden Bales April 27, 1909 U. S. Patent No. 919,808, we see a device having much greater similarity to a corkscrew. The resident of British Columbia, Canada refers to packing in stuffing boxes of pumps, engines, etc. He states his device has a packing engaging device with "the form of cork screw".

His subsequent invention (U. S. Patent No. 931,718) was issued on August 24 of the same year. His "Patent Extractor Bit". The drawing shows a device that seems to have all the elements to use to extract a cork from a bottle!



Frank English Pat. No. 1,653,995


Frank English Pat. No. 1,758,504

On December 27, 1927 Frank English of Detroit, Michigan was granted U. S. Patent No. 1,653,995 for his "Flexible Handled Tool". Noting that the entry to the stuffing box is generally at an angle, English incorporates a flexible shaft. He also uses interchangeable heads and writes "...the corkscrew (20) may be removed from the head (13) and the screw driver (21), which is provided with a head (18), threaded into the recess (14)."

English's second patent was issued May 13, 1930. In this patent he writes "The outer end of the shank (18) is formed into a suitable tool (19), in the present case being a cork screw." He had applied for both patents in 1925.


In Ervin Webb's 1932 patent we see a drawing of the tool in use. In his application he writes "... one end is bent to form a finger ring or grip and the other end is bent in the form of a cork screw ..." U. S. Patent No. 1,858,176 was granted to the Beaumont, Texas resident on May 10, 1932.


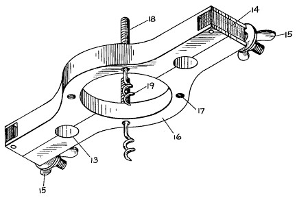
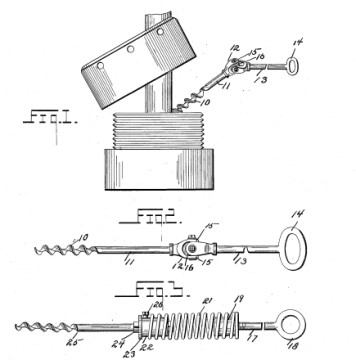
In 1937 a patent for a "Pulling Tool or Implement" shows up and here we se a tool that is often offered by flea marketers and the like as corkscrew for removing the cork from bottles. This, however, is another tool for removing packing from packing boxes or glands. The inventor was Christopher Wiessner of Kalamazoo, Michigan and the patent was assigned to Durametallic Corporation of the same city. U. S. Patent 2,066,598 was issued January 5, 1937. The tool was sold as the "Dura-Hook".


Patent No. 3,149,514 issued September 22, 1964 to Melvin H. Shaub of Lancaster, Pennsylvania for a "Packing Extractor". "...a tool for extracting used packing from a stuffing box ... surrounding rotatable shafts such as those encountered in pumps, valves, etc ..." He refers to items 18 & 19 with "...a screw (18) the end of which is secured a corkscrew or auger type piercing member (19)." Further into the document: "After the corkscrew has entered the packing, the entire yoke assembly is moved longitudinally along the shaft pulling the individual pieces of packing along."

Today's Packing Extractors

Here are a few of the "corkscrew" packing extractors currently manufactured:

A. W. Chesterton, Woburn, Massachusetts, offers Flexible Packing Extractors "designed for strong pull packing removal." From advertising copy we learn that they are "Constructed of high strength aircraft cable, precision heat-treated extracting worm, and unbreakable rotary-swaged assembly. Worm tips have plastic protective coating. Large, smooth, easy-grip handle. Furnished in sets of 4 tools."

Allstate Gasket and Packing, Deer Park, New York, describes their product with "Allstate Flexible Packing Hooks are the most rugged tool available for packing removal. The flexible shaft is constructed of twisted steel cable which easily conforms to close working conditions. The corkscrew tips are swaged on to the steel cable - not welded like most other packing hooks. Made of tempered steel, the tips will not straighten out during packing removal. Allstate packing hooks reduce the time-consuming job of repacking pumps and valves." The range of sizes is from 7 1/2" to 30".

Industrial Packing of Maine and Washington offers "Packing Tool Sets designed to help the maintenance person remove and install all forms of packing in the shortest time possible. Flexible Extractors feature replaceable ends and your choice of corkscrew or woodscrew tips."

Packing Extractor Tool Kit from Jiangxi Aidmer Seal Packing and Gasket Co., Ltd. , China


APG of Houston, Texas offers a number of Packing Extractors and Hooks. See their catalog on Page 2 of this issue.

Click here to see the Flowserve Dura Hook data sheet (155 KB PDF).

Packing extractor suppliers and manufacturers can be found by the dozens. The above are just a sampling of the variety available today.


Sneaky Pete


From Sneaky Pete packaging we learn that it "removes instantly upper rear main bearing seals without dropping the crankshaft ... removing tool works like a corkscrew." Sneaky Pete is a product of Lisle Corporation, Clarinda, Iowa.



Patent Hook and ?

In this photo is a packing hook like that seen in the APG catalog. The corkscrew at the top is a rather crudely forged example of a packing extractor.



Hiding Wine - Follow-up

In response to last week's story on figural wine bottle holders, reader Carroll Johnson submitted the above photo of another Barionette figure for sale in a local antique shop.





This king holds a different type of bottle




News Index



©2007 Don Bull, Editor

Email

The Virtual Corkscrew Museum