|  |  The Virtual Corkscrew Museum's Occasional Newspaper |  | 
| Wednesday, February 11, 2004 | 
New Name
From the Editor's Desk
Wirtz, Virginia - Yesterday we celebrated the First Anniversary of The Daily Screw. For some The Daily Screw was overwhelming. For others The Daily Screw was their morning treat. For me The Daily Screw was fun but now it is time to move on to something else. I will still publish a paper but as you can see by the new masthead, it will be occasionally.
I am currently working on a corkscrew book project and will get an issue out when time and information (send something) permit. If you would like to be notified when the book is available, email me at corkscrew@bullworks.net
Don Bull, Editor
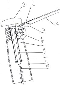
New Corkscrew from China
Wirtz, Virginia - When we spotted these corkscrews on ebay, we were intrigued by the advertising copy. The example on the left was offered as:
This is a high quality chrome plated, zinc alloy, one wing ratchet system corkscrew. The gear is stainless steel, as is the ratchet and spiral.
This design is so unique, it's patented. It's also very easy to use. Simply follow these steps:
- Press the lever against the corkscrew body.
- Lift the screw completely.
- Put the corkscrew on the top of the bottle.
- While holding the lever in the down position against the side of the wine bottle, twist the screw into the cork as far as it will go.
- Lift lever then push down about 3 times until cork is free from the bottle.
- Release the cork from corkscrew.
We purchased three different examples. When they arrived, we found little source information on the attractive packaging. On the box with the plastic version, we found "Patent No. ZL 98 2 46943.B." The patent number was also molded into the handle of the plastic version and cast into the handle of the chrome plated version picture above with the plastic example.
The version on the right has the word "Patent" cast into the bottom of the bottle collar.
No country source was shown on the corkscrews or packaging. We wrote to the seller and received this copy of the Chinese Patent No. ZL 98 2 46943.B:
The Test
We decided to try the most elegant looking model. It is a very well constructed corkscrew and has a nice teflon coated worm. The manufacturer protects the worm in packaging by putting a piece of plastic tubing on it. A nice touch.
We noted the advice on the instruction sheet "Not suitable for synthetic corks." We fetched a bottle with a synthetic cork and went to work. The worm penetrated the cork quickly and easily. The ratcheting mechanism worked like a charm and we had the synthetic cork extracted in no time at all.
This is a corkscrew we will use often.
| ©2004 Don Bull, Editor |