The Virtual Corkscrew Museum's Weekly Newspaper


Sunday, April 13, 2008

Number 512

Click for free subscription

News Archive


The American Corkscrew Company

The Patent

On February 9, 1911 Joseph T. Bethel of Manchester, Virginia applied for a patent for a corkscrew. He wrote:

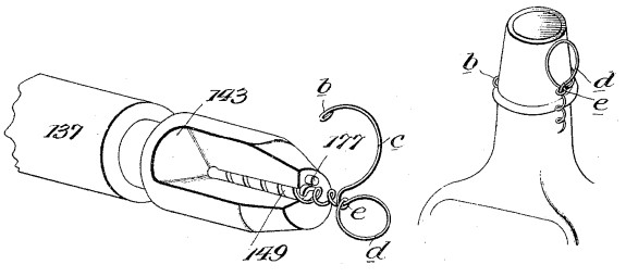
"This invention is an improved cork screw made from a single wire and provided with an integral clamping arm on one side for engaging the neck of a bottle so as to secure the cork screw thereto, and keep the cork screw with the bottle and keep it from being lost."

Bethel further notes "Heretofore it has been the common practice in packing bottled goods, which are provided with cork screws to secure the cork screw to the neck of a bottle by means of an elastic rubber band or the like" (shown in photo).

Bethel was granted U. S. Patent Number 1,009,040 on November 21, 1911. It was assigned to the American Cork Screw Company, Incorporated of Virginia.

The Company

On June 15, 1911 five people applied for a Virginia Corporation Charter giving their residence addresses in the downtown Richmond vicinity:

R. L. Mahaley, President
James C. Page, Vice President & Counsel
Joseph T. Bethel, General Manager
G. H. Knight, Secretary
D. M. Burke, Treasurer

The purposes for the formation of the Corporation to be known as the "American Corkscrew Company, Incorporated" were cited as "...to obtain Letters (of) Patent in the United States and its dependencies and in Foreign Countries and for the manufacture and sale of a certain corkscrew and the machines for the making of the said corkscrew and the general manufacture of metal specialties. The said corkscrew is described by the Commissioner of Patents as follows: 'A corkscrew constructed from a single length of wire bent to form a finger loop and two arms, of which one is twisted to provide a corkscrew, and the other is coiled around the neck of the loop to reinforce the same, and thence extended at right angles to the corkscrew and bent to present an approximately semi-circular neck engaging band, the terminal of the latter being formed into an eye that is offset from the neck to facilitate detachment and also by contact with the neck to accentuate the clamping property of the band.'"

A $3.50 fee was paid and the Charter was recorded on August 17, 1911.

The Engineers

With the company formed and the patent secured, the American Corkscrew Company now needed a machine to produce the corkscrew. They turned to McConnell-Browning Engineering Company of Richmond.

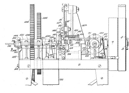
McConnell-Browning Engineering Company designed and made machinery of all types. They occupied a three story 50' x 75' building at 1015 East Cary Street. In 1915 Harry R. McConnell, the vice president of the firm, applied for a patent on a "Machine for Making Corkscrews". The application includes seven pages of drawings and eleven pages of description. McConnell wrote:

"The primary object of my invention is to provide a machine which will not only form the ordinary small wire corkscrew with looped handle and twisted shank, but will also form, from the same length of wire, a resilient or flexible clip or arm adapted to partially embrace the neck of the bottle and hold the corkscrew in conjunction therewith."

U. S. Patent Number 1,238,166 was granted to McConnell on August 28, 1917. The patent was assigned to the American Corkscrew Company of Richmond.

The Product

McConnell included in his patent application a drawing of Bethel's invention as it would be produced. He included a drawing of it attached to a bottle.

But was the corkscrew produced? To date we have not found one or heard of reports of its existence (Got one?).

It wasn't until four years after the American Corkscrew Company was formed, that McConnell applied for the patent on the machine to make the corkscrew.

The curious thing is that the Virginia Charter for the American Corkscrew Company was stamped REVOKED in 1919! We were not able to find any documents telling us why it was revoked. Was the company perhaps sued by Clough firm for copying their corkscrew and adding a bottle clamping device? Did the company go bankrupt?

Clough's Machine

By the time Bethel patented his corkscrew design, the Clough medicine corkscrew had already been produced by the millions over more than a quarter of a century. Clough applied for his patent on March 17, 1875 and claimed:

"A corkscrew formed of a wire of iron, steel, brass, or other metal, twisted spirally ... for a portion of its length, the remaining portion being bent into an angular or polygonal shaped loop to form the handle, the free end being secured to the wire immediately at the termination of the spiral."

Machines were built to produce the corkscrews at the Clough facility in Alton, New Hampshire.

In an 1884 patent application, William Crabb refers to the Clough patent and several others as expensive to produce because of the special strength wire used and the need to ground or forge the points. He claimed by scarf cutting the wire at the end, the corkscrew could be produced in a less expensive manner. Clough had formed a partnership Crabb to produce corkscrews in New Jersey and New York.

Clough incorporated Crabb's scarf cut in his "Machine for Making Corkscrews" U. S. Patent No. 441,137 granted November 25, 1890. On the sixth page of drawings in the application, the end result - the corkscrew is depicted.






The C. T. Williamson Company of Newark, New Jersey also manufactured corkscrews using Clough designed machines.

Was the American Corkscrew Company / McConnell Browning machine infringing on Clough's patent?

Searching for Remains

After spending several hours in the Virginia State Library digging for information on the American Corkscrew Company, The Weekly Screw staff went in search of remains of the company and its founders.

Although Bethel's corkscrew patent shows his home as Manchester, Virginia which was actually a the name of his Richmond neighborhood. The incorporation papers show his address as 1025 Decatur Street, Richmond. The home at that address is shown above.

Knight, the secretary of the company. listed a residence in the next block of Decatur Street.

The address given for the president of the company is now an office building housing a telephone museum as well as other offices.

The vice-president's address is now occupied by a highway.

The treasurer's address in now a small park and a bus stop.

A park was created at the location of McConnell-Browning Engineering.


Editor's note: If you own an example of Bethel's patent corkscrew or can supply further information on the American Corkscrew Company, Email us.




News Index



©2008 Don Bull, Editor

Email

The Virtual Corkscrew Museum