The Virtual Corkscrew Museum's Weekly Newspaper


Sunday, August 26, 2007

Number 475

Click for free subscription

News Index


Food Tools - Part 2

Corn Screws

On August 29, 1977, Larry Riedinger and George Spector filed for a U. S. Patent on their "Cornscrew" invention. These two guys decided that "corn on the cob" holders with a spike or blade existing at the time were difficult to use particularly on a hot ear of corn. Their corkscrew like ends on their holder would not require great force to mount "by persons who do not have great strength, such as children, women, and those who are holder." They also claimed their screw in holders were less likely to accidently fall out.

They snuck something funny into this sentence: "Other objects are to provide big Larry's cornscrew which is simple in design, inexpensive to manufacture, rugged in construction, easy to use and efficient in operation." There is nothing further mentioned about "big Larry". So we guess one of the inventors (Larry) was a big guy.

Patent No. 4,163,575 was issued August 7, 1979.




Bladed corn holders had been around many years before the Reidinger / Spector patent. The "Corn Holder" above is Carl Bomeisler U. S. Design Patent No. 39,815 of February 9, 1909.

The Bomeisler corn holder was manufactured by Simeon L. & George H. Rogers Company of Hartford, Connecticut and marked PAT. FEBRUARY 9 '09.

So Big Larry and George were making a claim in 1977 that their screw in corn holder was something new. Hold everything! Take a look at Bert Berry's 1931 patent. Sure enough, Bert uses a screw type mechanism to hold and secure the ear of corn. He applied for his patent in 1929 almost a half century before "Big Larry's invention."

U. S. Patent No. 1,801,653 was issued April 21, 1931.

Big Larry's Invention?


Numerous designs for corn holders were patented. Here are examples of but a few more:

`

Franklin Dixon's U. S. Patent No. 187,363 was issued February 13, 1877 for "Table Forks for Green-Corn, &c." His fork is for holding an ear of hot cooked Indian corn. Dixon suggested various handle materials including ivory, bone, horn, gutta-percha, and wood.

On March 12, 1878 U. S. Patent No. 201,230 was issued to John De Yongh for his "Implement for Holding Hot Corn". In this design the center spear penetrates the cob and the short prongs keep it from turning.


Donnelly Patent


Lenaghan Patent

Mary Donnelly designed a "Corn-Fork" in 1896. If the prongs on her pacifier handle tool could easily penetrate a cork without pushing it in the bottle and one could twist the handle, and by continuous twisting and easing upward, it could very well pull a cork in the fashion of Brady's U-Neek (see below). The major difference is that Brady's prongs are pushed in one at a time and at an angle. Donnelly was granted U. S. Design Patent No. 26,777 on March 16, 1897.

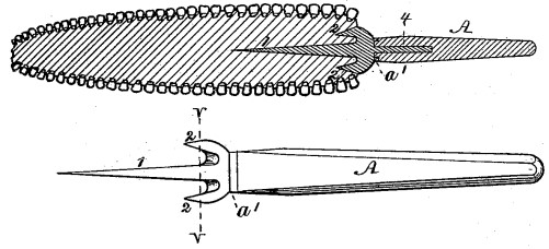
Arlene Lenaghan offered a new design incorporating the "pacifier" type handle with a corkscrew-like protrusion. She was granted U. S. Design Patent No. 274,207 on June 12, 1984 for her "Corn Cob Holder".

The "Cob Nob" is a registered trademark of Lilly Industries, Grand Rapids, Michigan

On January 23 1917, Wilson M. Brady was granted United States Patent Number 1,213,452 for his "Stopper-Extractor" invention. His rather complicated design was simplified in production - the "U-Neek". The body is one cast piece. Three pins with heads are secured by a retaining ring. The pins are pushed individually into the cork. The handle has a crown cap lifter added.

After picking an ear of corn from a boiling pot and not having a pair of Donnelly's Corn Forks on hand, one could fill the void by grasping the ear with a couple of U-Neeks. It wasn't Brady's intention but it should work!


In Charles Stebbins U. S. Patent No. 567,284 of September 8, 1896, he goes into some detail regarding corn holding devices and notes that his "...may be rotated for the purposes of applying salt and butter to it and lifted from the table to the mouth without requiring to be touched by the hand."

We include Edward Hauser's U. S. Patent No. 1,539,669 of May 26, 1925 because of the great drawings in the application. And we like some of his copy: "... facilitate the eating of corn on the cob more properly ... obviate the necessity of holding such with the fingers ... holding the cob of corn when relishing such ..." His two page description is rather detailed but entertaining.

A Sterling corn holder

Corn cob holder collecting is in its infancy. Perhaps this article will pique some interest among corkscrew collectors! Any readers already collect them? If you start, there's a lot of nice old ones and numerous modern plastic examples. In no time at all you can have a colorful collection!:



Corn holders with green bakelite handles from the C. J. Schneider Manufacturing Company, Toledo, Ohio c.1940s.

Don't like green "Kob-Knobs"? Schneider made them in red as well.

Prefer yellow? You can find that too.


Butter Picks

To butter your corn on the cob, a butter pick might come in handy. Butter picks are sometimes incorrectly offered by sellers as corkscrews. Here are some photos of butter picks that show how they may be confused:

Wallace Grand Baroque

Gorham Spotswood 1912

Alvin Marseilles 1890

Kirk Repoussé c.1925-1950.

Lunt Orleans 1914

Shiebler Fiorito 1902

Wallace Berain 1907




Corn Holder?


Could this be a version of Arlene Lenaghan's patent for a "Corn Cob Holder" (see Corn Screw story)? It has the "pacifier" as the sheath and in this case, a bottle cap lifter is used as the handle. The worm is like the worm in her drawing. The opener would lead one to believe it was designed as a bar tool - opener, corkscrew, and muddler but it certainly would fill Arlene's need for a corn cob holder.


Lenaghan's 1984 Patent



Next Week: Fruit Lifters




News Index



©2007 Don Bull, Editor

Email

The Virtual Corkscrew Museum