The Virtual Corkscrew Museum's Weekly Newspaper


Sunday, March 11, 2007

Click for free subscription

News Index


Holy Smokes

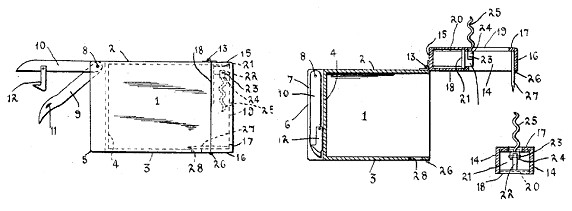
Charles Bartholomew of Spruce Pine, North Carolina applied for a patent for his invention on July 7, 2001. U. S. Patent 6,519,799 for the Corkscrew Tool and Pipe Combination was issued February 18, 2003. Bartolomew claimed:

"The invention relates to a corkscrew tool and pipe combination. Smoking a pipe and drinking wine are activities commonly associated with one another. When smoking a pipe, the need or desire to open a corked bottle of wine may arise. To accomplish the task of opening a corked bottle, a corkscrew is usually employed. This invention eliminates the time required to locate a corkscrew by providing it as an existing feature of the pipe. This invention is useful while entertaining in a social capacity, or while enjoying a leisurely smoke and bottle of wine individually. The corkscrew tool and pipe combination is easily assembled by the user."

Has the "need or desire to open a corked bottle of wine" arisen while any readers have been smoking a pipe?


Some other corkscrew pipe designs were produced but they did not function for smoking.

Pipe design by Gio Ponti, Industrial Designer

Wood corkscrew and cap lifter pipes

Salt and Pepper Pipe Corkscrew and Bottle Opener



Match Boxes

Between 1893 and 1910, seven patents were issued by the U. S. patent office for match boxes which incorporated a corkscrew into the design. It is interesting to note that none of the patents mention a match striker on the box.

Proctor Dean and George Orr patented a Combined Corkscrew, Match-Holder, &c on August 1, 1893 (U. S. No. 502,351). "A match holder, preferably made in close imitation of a pocket flask such as used for carrying liquors, and having adapted and applied thereto a cork screw of novel construction and also preferably constructed to provide a stamp holder."

Charles L. Higgins of Springfield, Massachusetts applied for his Match-Box patent on April 17, 1895. U. S. Patent Number 553,030 was applied on January 14, 1896. In his application Higgins sums up his invention with the claim "A compound pocket implement comprising a match-box made of two tubes longitudinally secured together and provided with a top and bottom, a cigar-cutter in one of said tubes, a cork-screw foldable into the same tube and a call-whistle upon one end of the device." (See January 21, 2007)

U. S. Patent No. 658,393 issued September 25, 1900 to Henry C. Paul of St. Louis for a Match-Box with one half assigned to Frank Hilbig. The point of the corkscrew "rests upon the edge of the body when the same is in a folded position and is prevented while in said position from contact with the clothes of the user by means of a projection (which forms) part of the body." Also includes a cigar cutter and a receptacle for toothpicks.

U. S. Patent No. 666,720 issued January 29, 1901 to Robert P. Wetmore of Washington, D. C. for a Combined Match Box and Tool Holder. Wetmore designed his match-box much like the roundlet tool kits holding various implements. He writes "a holder for a tool - such, for instance, as a corkscrew - which is held within the box when not in use as to be prevented from being moved about or rattling and which may be easily removed from the box and inserted in a groove in the end of the box provided to receive and hold the same rigidly."

U. S. Patent No. 672,456 issued April 23, 1901 to Henry Paul and Frank Hilbig for a Match Box. They describe their box as having a receptacle with a series of compartments which can contain a corkscrew, matches, or toothpicks and a knife blade / cigar clipper.

U. S. Patent No. 762,180 of June 7, 1904 issued to Bartholomew Brooks of Philadelphia, Pennsylvania for a Combined Match-Box, Cigar-Cutter and Corkscrew. Brooks claims "... a corkscrew adapted to normally fit within the tubular portion, said enlargement adapted to fit tightly within the tubular portion when the corkscrew is at right angles to the box with the shank extending through the slot, and a pin extending outward at right angles to the corkscrew adapted to protrude through the slot when the corkscrew is in its normal or inoperative position."

On October 25, 1910 U. S. Patent Number 973,930 was issued to John W. Fink of Pittsburg [early spelling], Pennsylvania for his Match-Box". Fink added a couple of features to the match-box - a cap puller and finger nail cleaner. The corkscrew is housed in the lid of the box. It is pulled out and swung through the slot at right angles to the lid for use.


A photo of the first patent (Proctor Dean) is shown in Fred O'Leary's Corkscrews book. We have not seen examples of any of the other U. S. Patent match boxes.

The match box pictured below is Swedish. It is 1 3/8" x 2 3/8" x 1/2" and is shown in an 1896 Swedish catalog from Josef Leja. The inset pieces on both sides are Mother-of-Pearl. Three is a match striker on the side.


The British knife below features a cigar cutter, a pipe pricker, a match holder, a match striker, and an ashtray. From F. West, St. James St., London (c.1837-1901).

Below are two match holders with striker. The knife and corkscrew in each are not real.



A silver match box with gilded interior houses a sliding corkscrew. (Courtesy of Ferd Peters and Bert Giulian, authors of History of Pocket Corkscrews and Pocketknives.





News Index



©2007 Don Bull, Editor

Email

The Virtual Corkscrew Museum