The Virtual Corkscrew Museum's Weekly Newspaper


Sunday, January 28, 2007

Click for free subscription

News Index


Tipped Worms

How did so many old corkscrews get their tips broken / shortened? In the February 4, 2006 issue we included this graphic from a Crown Cork and Seal advertisement:



It was pointed out that William Painter wrote in his crown cork patent "... the caps can be almost readily detached by the use of a knife, a screw-driver, a nail, an ice-pick, or any usually and readily available pointed instrument ..." Apparently, corkscrews were included in his thoughts!

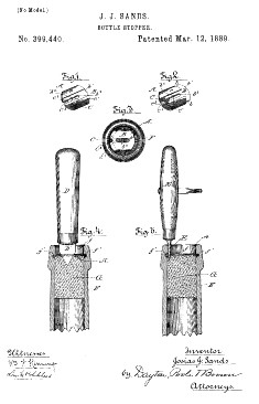
Painter was not the first to suggest this ill-treatment of a corkscrew. In 1888 Josias J. Sands of Merton, Wisconsin applied for a a bottle-stopper patent and he wrote "The bar may be easily removed by inserting a hook or stiff pointed instrument [corkscrew] beneath the central part of the bar and pulling or prying outwardly thereon." A few days later (December 18) he applied for another stopper patent and this time he had a better idea to remove it by "...any suitable pointed instrument as for example a spur on the end of a corkscrew handle."

Sands "Spur" on the end of a corkscrew handle.

On May 13, 1889 Sands reverts to his earlier suggestion in yet another bottle stopper patent application " ... to allow the extraction of the cork by inserting the point of a corkscrew or other pointed implement or hook ..."

The Champion Cork Retainer Company of Chicago, Illinois advertised Sands' invention and showed the removal of the bottle stopper retainer with the point of a corkscrew. The advertisement suggests "To extract retainer place point of cork screw under the arch (not in the slot) and press gently downward."

Editor's note: The Champion Cork advertisement was included in David Graci's 2003 book Soda and Beer Bottle Closures 1850-1910. Readers interested in obtaining a copy of this well-illustrated book are invited to email David at Stonebotle@aol.com. We are indebted to Mark Woodard for bringing this publication to our attention.


Champagne Tap

On October 22, 1889, Josias Sands was granted United States Patent Number 413,462 for his "Retaining Device for Bottle Stoppers." On his drawing page he depicts a Champagne Tap. He writes " ... it allows the insertion into the cork of a champagne tap or valved tube, by which a desired quantity of an effervescing liquid can be drawn from the bottle without allowing the escape of all of the confined gases by which the effervescent is produced."

Sands' drawing with Champagne Tap



HUGE corks!

The eBay seller described this item with "Vintage 1892-1920 Cork puller ... it says on the underside of the handle, 'Do Not Pull - Turn Cork Out'. On the side of the handle it says, 'Compliments of the Standard Brewery, Chicago' ... The Standard Brewery operated in Chicago between the years 1892 to 1920, so this is quite the oldie! On the underside of the handle it also says, 'Walker's Patent'. This was a complimentary item, probably provided by the brewer to taverns and pubs back in the day when beer was delivered in barrels off the back of trucks."

Editor's note: So how do you pull a cork with this thing? It must be a really huge bottle with square or rectangular neck! It is obviously a marriage of a corkscrew handle with a food chopping tool. It had a starting bid of $18.99. It did not get any bids.


More Corkscrew Trees

The corkscrew tree on the left is pictured on a postcard mailed in 1909 from British Honduras. Copy on the card is "Natural Cork Screw (Cocoa Nut Tree) Manantee Lagoon near Belize, British Honduras."

The corkscrew tree in the other two photos is described as "One of the most unique of the giant redwoods in Prairie Creek Redwoods State Park, Humboldt County, California, is the corkscrew tree. It is located just off the Redwood Highway."



News Index



©2007 Don Bull, Editor

Email

The Virtual Corkscrew Museum